作者 | Janson
编辑 | 志豪
车东西12月12日消息,日前,中国证券监督管理委员会网上办事服务平台信息显示,北京卫蓝新能源科技股份有限公司与中信建投证券签署上市辅导协议,正式启动A股IPO进程。
▲中国证券监督管理委员会网上办事服务平台信息
这家成立于2016年的固态电池企业已发展为估值185亿元的行业独角兽,拥有中国科学院物理研究所的深厚技术积累和多位知名科学家的创业团队。
▲北京卫蓝新能源科技股份有限公司与中信建投证券签署上市辅导协议
卫蓝新能源自成立以来,专注于混合固液电解质锂离子电池与全固态锂电池的研发与生产,产品应用于新能源汽车、储能、3C消费、低空动力等多个领域。
如果进展顺利,卫蓝新能源或将成为A股市场“固态电池第一股”。
一、估值已达185亿 落地技术覆盖汽车储能低空经济
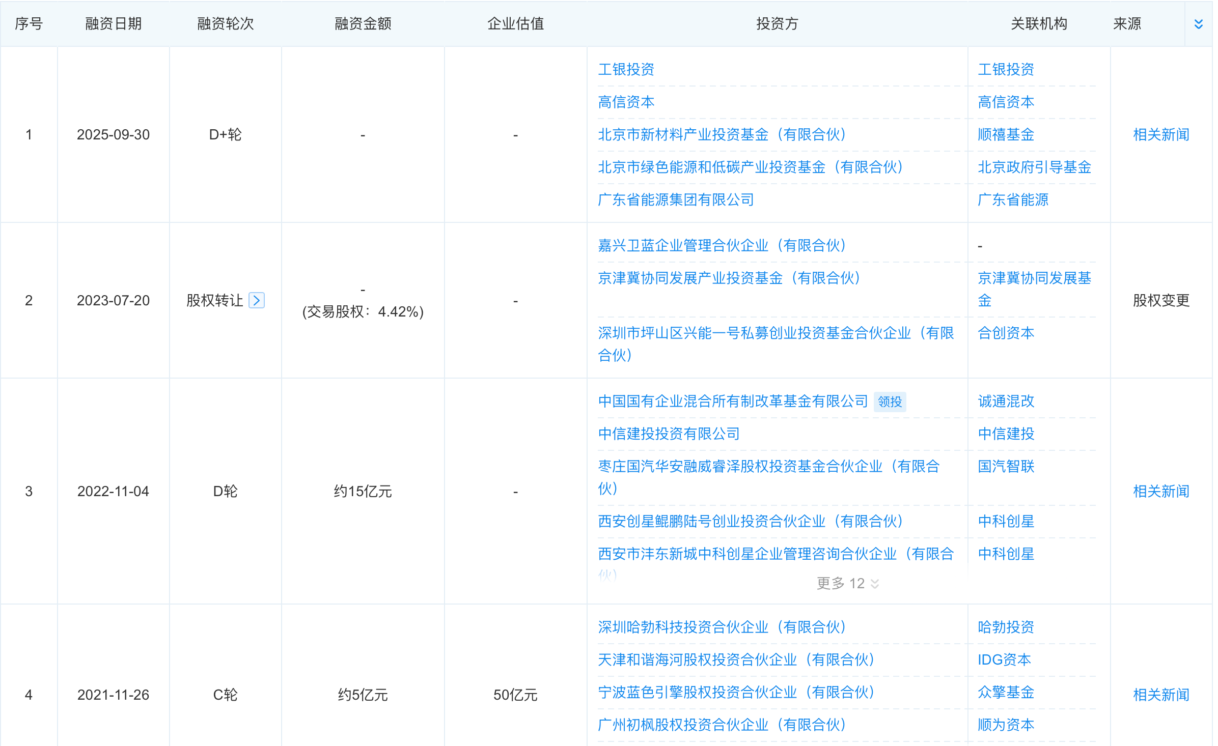
卫蓝新能源自2016年成立以来已完成9轮融资,2025年6月26日,胡润《2025全球独角兽榜》发布,卫蓝新能源以185亿人民币企业估值位列榜单第455位。可以说,卫蓝新能源从科研成果转化逐步发展为一家行业独角兽。
卫蓝新能源的融资历程体现了从科研成果转化到产业化落地的完整路径,股东阵容十分豪华,包括国有资本(中国诚通混改基金、国投创益、中信建投投资等)和产业资本(蔚来资本、小米长江产业基金、华为哈勃投资、吉利控股等)。
截至目前,卫蓝新能源公司股东数量超48个。
▲卫蓝新能源主要投资者信息(信息来源:企查查)
在技术突破方面,卫蓝新能源一直是国内锂电研究的头部企业。
2017年,卫蓝新能源提出”半固态电池”概念,通过”原位固态化”技术解决了固态电解质与电极材料之间的界面接触难题。
2019年,公司固态电池产品在能量密度、功率密度和安全性方面达到世界领先水平。
2023年,卫蓝新能源成功量产能量密度360Wh/kg的半固态电池电芯,应用于蔚来ET7等车型,实现单次充电续航超1000公里的突破。
▲卫蓝新能源固态电池产品
公开信息显示,卫蓝新能源已申请国家专利400余项,授权100余项,覆盖固态电池复合正极、固态电解质、隔膜和负极等核心材料与技术。
在产品应用领域,卫蓝新能源已形成三大核心产品矩阵。
在新能源汽车领域,卫蓝新能源360Wh/kg高能量密度动力电芯,已向主机厂交付,同时获得多家知名整车厂定点。
在储能领域,卫蓝新能源280Ah超高安全储能电芯,2023年下半年开始量产,为三峡集团、国电投、海博思创等大型储能项目供货。
在低空经济领域,卫蓝新能源320Wh/kg高能量密度低空经济动力电芯,应用于无人机、机器人、便携电源等客户。
二、三位学界大佬领衔 深耕固态电池
卫蓝新能源的创始团队由三位在锂电池领域具有深厚造诣的科学家组成,形成了独特的”学术+产业”复合型领导架构。
陈立泉院士被誉为”中国锂电之父”,也是卫蓝新能源的技术奠基人。他1940年出生于福建厦门,1964年毕业于中国科技大学物理系,随后进入中国科学院物理研究所工作。
▲陈立泉院士
1976年在德国马克斯·普朗克科学促进学会固体所进修期间,他敏锐意识到固态离子学在电池领域的应用前景,申请并获准改变研究方向,从此开启了中国固态电池的研究历程。
陈立泉院士于1987年担任”863″计划”七五”储能材料(聚合物锂电池)项目总负责人,带领团队于1988年成功研制出中国首块固态锂电池,1995年研制出中国首块液态锂电池。
公开信息显示,他持有卫蓝新能源2.8125%的股份,推动公司技术路线的发展。
李泓研究员是卫蓝新能源技术产业化的核心推动者。他1960年代出生于甘肃,1985年毕业于兰州大学物理化学系,1997年在中科院物理研究所获得博士学位。
▲李泓研究员
李泓在固态电池领域拥有多项开创性成就,1997年在全球首次提出纳米硅负极材料,2005年研发出”元宵结构”纳米硅负极方案。
2015年,他在电池硅负极实验中观察到液态电解液”生长”出固态层的特殊现象,这一突破性发现催生了”原位固态化”技术路线——通过化学聚合将液体转化为固态电解质,有效解决了固态电池界面接触难题。
公开信息显示,李泓持有卫蓝新能源3.6772%股份,担任公司首席科学家。
俞会根博士是公司的法人,负责卫蓝新能源的产业化。他1968年2月出生于浙江,1992年毕业于兰州大学化学系,后获清华大学创新领军工程博士学位,是教授级高级工程师。
▲俞会根博士
俞会根在产业界拥有丰富经验,曾担任北汽新能源总工程师,对电池技术的实际应用有深刻理解。
他于2010年萌生创业想法,当时驾驶初代纯电汽车的经历让他深刻体会到电动汽车续航里程的痛点。
2016年8月,他与陈立泉院士、李泓研究员共同创办卫蓝新能源,目前直接持有公司10.43%股份,通过间接持股和一致行动人合计控制29.25%的股权,担任公司董事长兼总经理。
结语:固态电池进入快车道
卫蓝新能源冲刺“固态电池第一股”的背后,是中国顶级科研力量在2025年对固态电池底层难题的集中攻破与技术井喷。
就在卫蓝启动IPO辅导的同一时期,学术界捷报频传。
清华大学张强教授团队在11月刚刚宣布了一项里程碑式突破,其研发的新型含氟聚醚电解质成功打破了高压正极与锂金属负极的适配瓶颈,将软包电池的能量密度推高至惊人的604Wh/kg,这一数据是现有液态锂电池的2至3倍,意味着未来电动汽车续航翻倍将不再是理论推演。
与此同时,中国科学院金属研究所在解决固态电池“固-固界面”接触不良这一核心痛点上取得实质进展,通过设计新型聚合物电解质,不仅大幅降低了界面阻抗,更使电池具备了耐受2万次弯折的极致柔性,为固态电池适应复杂车身结构乃至折叠电子设备扫清了障碍。
此外,中科院青岛能源所主攻的硫化物全固态电池也已跨越实验室阶段,其20Ah车载电池中试线的稳定运行,验证了从微观材料到宏观产线的工程化路径。
这些密集发布的硬核成果,不仅为全行业划定了2027年实现全固态装车的清晰时间表,更为卫蓝新能源这类拥有深厚“中科院基因”的头部企业提供了最坚实的估值逻辑与产业化信心。
可以说,卫蓝新能源正式启动IPO辅导,标志着国产固态电池产业化迈入资本助力的快车道。
作为背靠顶尖科研团队与豪华资本阵容的行业独角兽,其若能顺利登陆A股,不仅有望摘得“固态电池第一股”的头衔,更为后续的技术迭代与产能扩张提供关键支撑。
在动力电池技术变革的关键窗口期,卫蓝新能源能否借助资本杠杆加速商业化落地,引领行业突破瓶颈,值得市场持续关注。
